繪制圖5-70所示的圖形。該圖形可認為由4個部分組成,每一部分的形狀都不復雜。作圖時,先分別畫出這些部分(傾斜部分可在水平或豎直方向繪制),然后用MOVE、ROTATE或ALIGN命令將各部分“裝配”在一起。
5-70利用“裝配法”畫復雜圖形
1. 打開極軸追蹤、對象捕捉及自動追蹤功能。指定極軸追蹤角度增量為90°;設定對象捕捉方式為“端點”、“交點”;設置僅沿正交方向自動追蹤。
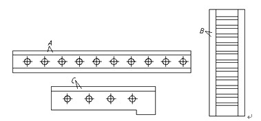
2. 用LINE、OFFSET、CIRCLE、ARRAY等命令繪制圖形A、B、C,如圖5-71所示。
5-71畫圖形A、B、C
3. 用MOVE命令將圖形B、C移動到正確的位置,如圖5-72所示。
5-72移動圖形B、C
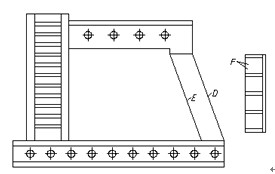
4. 繪制線段D、E,再畫圖形F,如圖5-73所示。

5-73繪制線段D、E及圖形F
5. 用ALIGN命令將圖形F“裝配”到正確的位置,如圖5-74所示。

5-74把圖形F“裝配”到正確的位置
下載 (17.72 KB)
2009-9-1 23:47
5-70利用“裝配法”畫復雜圖形
1. 打開極軸追蹤、對象捕捉及自動追蹤功能。指定極軸追蹤角度增量為90°;設定對象捕捉方式為“端點”、“交點”;設置僅沿正交方向自動追蹤。
2. 用LINE、OFFSET、CIRCLE、ARRAY等命令繪制圖形A、B、C,如圖5-71所示。
5-71畫圖形A、B、C
3. 用MOVE命令將圖形B、C移動到正確的位置,如圖5-72所示。
5-72移動圖形B、C
4. 繪制線段D、E,再畫圖形F,如圖5-73所示。

5-73繪制線段D、E及圖形F
5. 用ALIGN命令將圖形F“裝配”到正確的位置,如圖5-74所示。

5-74把圖形F“裝配”到正確的位置
相關文章
- 2021-09-08BIM技術叢書Revit軟件應用系列Autodesk Revit族詳解 [
- 2021-09-08全國專業技術人員計算機應用能力考試用書 AutoCAD2004
- 2021-09-08EXCEL在工作中的應用 制表、數據處理及宏應用PDF下載
- 2021-08-30從零開始AutoCAD 2014中文版機械制圖基礎培訓教程 [李
- 2021-08-30從零開始AutoCAD 2014中文版建筑制圖基礎培訓教程 [朱
- 2021-08-30電氣CAD實例教程AutoCAD 2010中文版 [左昉 等編著] 20
- 2021-08-30電影風暴2:Maya影像實拍與三維合成攻略PDF下載
- 2021-08-30高等院校藝術設計案例教程中文版AutoCAD 建筑設計案例
- 2021-08-29環境藝術制圖AutoCAD [徐幼光 編著] 2013年PDF下載
- 2021-08-29機械AutoCAD 項目教程 第3版 [繆希偉 主編] 2012年PDF